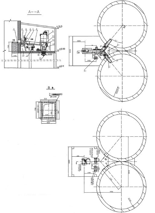
ZSQ150-Ⅱ/2兩庫連體散裝機
概述
ZSQ150Ⅱ/2兩庫連體散裝機具備庫側散裝機的功效,卸料時按照現實環境,兩庫既可單Du卸料,也可同時卸料。各庫用各自的卸料箱,庫內承料槽和機頭、停止閥,共用斜槽、斜槽風機、除塵器、料位儀、散裝頭和羅茨風機(或進氣氣源)。在無限的空間地位或庫的物料須要夾雜時,倡議利用兩庫或三庫連體散裝機。
手藝請求
1、本平臺周圍應密封,以防風雨打,詳細布局自定。
2、該散裝機卸車才能為60-150T/H,任務環境達標。
3、裝配時,一切法蘭均加密封資料。
4、本機任務時應翻開響應庫的停止閥。
5、羅茨風機可選R14,其壓力為29.4KPA
風量為2.34m3/min,氣源也可用減壓后的氣源取代。
6、其差別直徑的均化庫,其三通槽角度差別,可由現實環境定。
您就能會對低于物質感其樂無窮
產物好不好 用你們的事績表明
奧普聚焦協作火伴
企業范圍如何樣 用咱門的天姿表明
出產才能如何樣 用科學研究的武器裝備和團對要標
消息靜態
- 北京紅蜻蜓論壇網頁版:甚么反轉展轉堆料機,利用特色如何
- 甚么是粉煤灰散裝機,特色及利用如何
- 斗輪堆取料機有甚么分類及布局特色
- 北京紅蜻蜓論壇網頁版:電動百葉閥和蝶閥的區分,別錯過
- 北京紅蜻蜓論壇網頁版:我司C型料場名目4臺半門架刮板取料機試運
- 側式懸臂堆料機在開機前的操縱要點講授
- 對于螺旋保送機,這些常識點要領會
- 螺旋閘門的布局及分類特色
- NE板鏈斗式晉升機的平常保護請求
- 北京紅蜻蜓論壇網頁版:氣箱脈沖袋收塵器發生結露的緣由是甚么
- 北京紅蜻蜓論壇網頁版:甚么是粉煤灰散裝機,特色及利用如何
- 北京紅蜻蜓論壇網頁版:熟料散裝機的利用注重事變,領會嗎
- 汽車散裝機的裝配、調試與運轉要點講授
- 熟料散裝機的裝配要點講授,不可錯過
- 北京紅蜻蜓論壇網頁版:粉煤灰散裝機好評不時,靠的便是這幾點!
- 北京紅蜻蜓論壇網頁版:領會熟料散裝機的利用及保護注重要點
- 北京紅蜻蜓論壇網頁版:庫底散裝機,還不曉得這些常識點
- 北京紅蜻蜓論壇網頁版:熟料散裝機的相干裝配步驟講授
- 熟料散裝機的利用注重事變,需領會哦
- 領會對于汽車散裝機的平常利用注重事變